Porsche запатентовала регулируемую рессорную подве...
Porsche запатентовала регулируемую рессорную подвеску
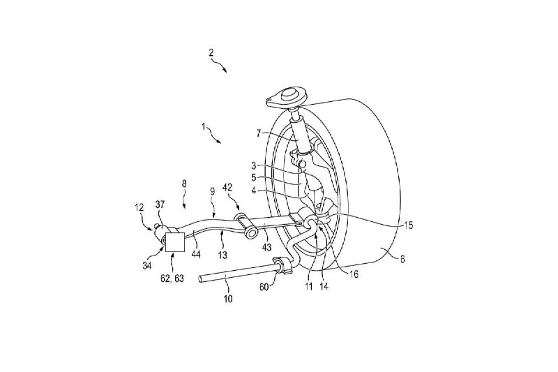
Porsche запатентовала необычную независимую подвеску с композитной рессорой в роли упругого элемента. Заявка появилась в базе Всемирной организации интеллектуальной собственности.
Конструкция представляет собой вариацию подвески McPherson, где короткая листовая рессора одновременно выполняет функцию нижнего рычага, а амортизатор интегрирован в колесный узел. Жёсткость и высота подвески могут регулироваться с помощью электрических или гидравлических актуаторов.
Подвеска подходит для передней и задней оси и совместима с электромобилями.
t.me/s/sochiautoparts
sochiautoparts.ru
#sochiautoparts
Porsche запатентовала необычную независимую подвеску с композитной рессорой в роли упругого элемента. Заявка появилась в базе Всемирной организации интеллектуальной собственности.
Конструкция представляет собой вариацию подвески McPherson, где короткая листовая рессора одновременно выполняет функцию нижнего рычага, а амортизатор интегрирован в колесный узел. Жёсткость и высота подвески могут регулироваться с помощью электрических или гидравлических актуаторов.
Подвеска подходит для передней и задней оси и совместима с электромобилями.
t.me/s/sochiautoparts
sochiautoparts.ru
#sochiautoparts