Porsche запатентовала регулируемую рессорную подвеску

Porsche запатентовала необычную независимую подвеску с композитной рессорой в роли упругого элемента. Заявка появилась в базе Всемирной организации интеллектуальной собственности.

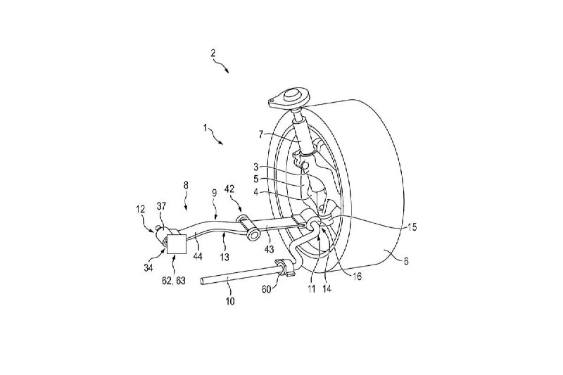
Конструкция представляет собой вариацию подвески McPherson, где короткая листовая рессора одновременно выполняет функцию нижнего рычага, а амортизатор интегрирован в колесный узел. Жёсткость и высота подвески могут регулироваться с помощью электрических или гидравлических актуаторов.

Подвеска подходит для передней и задней оси и совместима с электромобилями.

t.me/s/sochiautoparts

sochiautoparts.ru

#sochiautoparts

#porsche #запатентовала #регулируемую #рессорную #подвеску #необычную #независимую #композитной #рессорой #роли